一、D71F手柄襯氟蝶閥特征:
D71F手柄襯氟蝶閥采用帶有球形密封表面的襯聚四氟乙烯包襯蝶板,配以閥座基部 的 硅橡膠襯墊調節閥門的密封性能;該閥門操作輕便,嚴密的密封性能,超 長的 使用壽命;可作快速切斷或調節流量之用。適用于要求可靠密封和 良好調節特性的 場合。閥體采用分體式,閥軸兩端的密封由蝶板與閥座 之間的旋轉基面加氟橡膠來 控制;從而達到產品結構緊湊、外形美觀,工藝合理、性能可靠。保證閥軸不與腔 內流體介質接觸,更換閥軸時非常方便,閥門不需要拆離管道即可完成。
D71F手柄襯氟蝶閥廣泛適用于各種不同類型工業管道中液體和氣體(包括蒸 氣)的 輸送,特別是具有嚴重腐蝕性介質的使用場合,如:硫酸、氫氟酸、磷酸、氯氣、 強堿、王水等具有強腐蝕性的介質。
二、手柄襯氟蝶閥特點及用途:
軟密封蝶閥通常用于溫度≤120℃,公稱直徑≤1.6Mpa的食品、醫藥、化工、石油、 輕紡、造紙等給排水、氣體管道上作調節流量和截斷流體的作用。其主要特點 為;1、設計新穎、合理、結構獨特,重量輕,啟閉迅速。2、操作力矩小,操作方 便,省力靈巧。2、可任意位置安裝,維修方便。4、密封件可更換,密封性能可靠 達到雙向密封零泄漏、3、密材料耐老化、耐腐蝕,使用壽命長等特點。設計標準: GB/T12238-1989 法蘭連接尺寸:GB/T9113.1-2000:GB/T9115.1-2000:JB78
結構長 度:GB/T12221-1989 壓力試驗:GB/T13927-1992:GB/T9092-1999
三、手柄襯氟蝶閥剖視圖:

四、手柄襯氟蝶閥主要技術參數:
公稱通徑
|
DN(mm)
|
50~2000
|
公稱壓力
|
PN(Mpa)
|
0.6
|
1.0
|
1.6
|
試驗壓力
|
殼體強度試驗
|
0.9
|
1.5
|
2.4
|
密封試驗
|
0.66
|
1.1
|
1.76
|
氣密封試驗
|
0.6
|
0.6
|
1.76
|
適用介質
|
硫酸、氫氟酸、磷酸、氯氣、 強堿
|
驅動形式
|
手柄、渦輪、電動、氣動
|
五、手柄襯氟蝶閥主要零部件材料:
零件名稱
|
零件材料
|
閥體
|
灰鑄鐵、球墨鑄鐵、鑄鋼、襯各種橡膠、聚四氟乙烯等
|
蝶板
|
灰鑄鐵、球墨鑄鐵、鑄鋼、不銹鋼、及特殊材料
|
密封圈
|
球墨鑄鐵、鑄鋼、合金鋼、不銹鋼
|
閥桿
|
45#、2Gr13、不銹鋼
|
填料
|
O型圈、柔性石墨
|
材料品種
|
氯丁橡膠
|
丁晴橡膠
|
乙丙橡膠
|
聚四氟乙烯橡膠
|
硅橡膠
|
氟橡膠
|
代號
|
(CR)X4
|
(NBR)X5
|
(EPDM)X3
|
(PTFE)F4
|
(SI)XI
|
(FPM)X7
|
耐最高溫度
|
99℃
|
93℃
|
135℃
|
180℃
|
180℃
|
200℃
|
耐最低溫度
|
-29℃
|
-23℃
|
-46℃
|
-20℃
|
-55℃
|
-23℃
|
六、 手柄襯氟蝶閥結構圖:
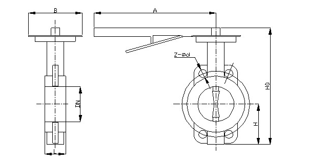
七、D71F襯氟蝶閥主要外形和連接尺寸:
公稱通經
|
L
|
D
|
D1
|
D2
|
f
|
b
|
Z-φd
|
D
|
D1
|
D2
|
f
|
b
|
Z-φd
|
DN(mm)
|
NPS(inch)
|
PN1.0MPa
|
PN1.6MPa
|
40
|
3/2
|
33
|
145
|
110
|
85
|
3
|
18
|
4-φ18
|
145
|
110
|
85
|
3
|
18
|
4-φ18
|
50
|
2
|
43
|
160
|
125
|
100
|
3
|
20
|
4-φ18
|
160
|
125
|
100
|
3
|
20
|
4-φ18
|
65
|
5/2
|
46
|
180
|
145
|
120
|
3
|
20
|
4-φ18
|
180
|
145
|
120
|
3
|
20
|
4-φ18
|
80
|
3
|
46
|
195
|
160
|
135
|
3
|
22
|
4-φ18
|
195
|
160
|
135
|
3
|
22
|
8-φ18
|
100
|
4
|
52
|
215
|
180
|
155
|
3
|
22
|
8-φ18
|
215
|
180
|
155
|
3
|
24
|
8-φ18
|
125
|
5
|
56
|
245
|
210
|
185
|
3
|
24
|
8-φ18
|
245
|
210
|
185
|
3
|
26
|
8-φ18
|
150
|
6
|
56
|
280
|
240
|
210
|
3
|
24
|
8-φ23
|
280
|
240
|
210
|
3
|
28
|
8-φ18
|
200
|
8
|
60
|
335
|
295
|
265
|
3
|
26
|
8-φ23
|
335
|
295
|
265
|
3
|
30
|
12-φ23
|
250
|
10
|
68
|
390
|
350
|
320
|
3
|
28
|
12-φ23
|
405
|
355
|
320
|
3
|
32
|
12-φ25
|
300
|
12
|
78
|
440
|
400
|
368
|
3
|
28
|
12-φ23
|
460
|
410
|
375
|
4
|
34
|
12-φ25
|
350
|
14
|
78
|
500
|
460
|
428
|
4
|
30
|
16-φ23
|
520
|
470
|
435
|
4
|
38
|
16-φ25
|
400
|
16
|
102
|
565
|
515
|
482
|
4
|
32
|
16-φ25
|
580
|
525
|
485
|
4
|
40
|
16-φ30
|
450
|
18
|
114
|
615
|
565
|
532
|
4
|
32
|
20-φ25
|
640
|
585
|
545
|
4
|
44
|
20-φ30
|
500
|
20
|
127
|
670
|
620
|
585
|
4
|
34
|
20-φ25
|
705
|
650
|
608
|
4
|
46
|
20-φ34
|
600
|
24
|
154
|
780
|
725
|
685
|
5
|
36
|
20-φ30
|
840
|
770
|
718
|
5
|
54
|
20-φ41
|
700
|
28
|
165
|
895
|
840
|
800
|
5
|
40
|
24-φ30
|
910
|
840
|
788
|
5
|
54
|
24-φ41
|
800
|
32
|
190
|
1010
|
950
|
905
|
5
|
44
|
24-φ34
|
1020
|
950
|
898
|
5
|
54
|
24-φ41
|
900
|
36
|
203
|
1110
|
1050
|
1005
|
5
|
46
|
28-φ34
|
1120
|
1050
|
998
|
5
|
54
|
28-φ41
|
1000
|
40
|
216
|
1220
|
1160
|
1115
|
5
|
50
|
28-φ34
|
1255
|
1170
|
1110
|
5
|
60
|
28-φ48
|
1200
|
48
|
254
|
1450
|
1380
|
1325
|
5
|
56
|
32-φ41
|
|
|
|
|
|
|
深圳金口閥門有限公擁有民用核安全設備設計和制造許可證、壓力容器和壓力管道元件特種設備制造許可證。通過了石油學會API6D、API609認證以及ISO9001質量管理體系、ISO10012測量管理體系、ISO14001環境管理體系、GB/T28001職業健康安全管理體系認證。
感謝您訪問我們的網站【 深圳金口閥門有限公司網址:www.lanyikeji.com】如有任何疑問,您可以致電0755-27582172給我們,我們一定會盡心盡力為您提供優質的服務。我們立志成為一流的閥門制造商。
相關【阻火器】產品推薦:
版權所有轉載請注明出處:D71F手柄襯氟蝶閥http://www.lanyikeji.com/Valve_Product_390.html
專業制造、專業服務、為您創造更多價值!
金口閥門致力于滿足用戶的期望,不斷提升服務質量,精益求精,“真誠的服務”是永恒的主題,嚴格按照ISO9001-2000質量體系認證要求,質量嚴格把關,責任到人,確保生產、銷售、服務的一條龍運行.加強與用戶溝通,竭誠為廣大新老客戶提供優質的產品,至善至美服務.
特此我廠做出如下承諾:
產品標準:
產品嚴格按中國GB、HG標準和美國API等標準設計、制造、驗收。密封面硬度達到國家規定要求,寬度超過國家標準.
售前服務:
產品介紹,技術交流,非標產品設計,疑難解答.
售中服務:
1.守信合同,保證及時供貨,隨時保持與客戶聯系.
2.對特殊或復雜的產品,我廠安排介紹人員對用戶進行產品使用、故障排除、調試及維修進行培訓和指導.
售后服務:
- 產品質保期為自簽訂合同生效起12個月,實行“三包”服務,(包退、包換、包修).
- 產品在使用中我廠定期組織技術、質檢人員進行訪問,征詢用戶對產品質量、使用狀況、改進意見等各方面的反饋.
- 對用戶投訴質量問題,快速做出反應,售后服務人員在24-36小時(省外48小時)趕赴現場.
- 對售后服務,要求用戶填寫服務后的質量反饋信息表,并做出鑒定意見,一邊提供的服務質量.